一、添加郵輪公司
在用戶管理_供應商管理中添加郵輪公司

在列表中增加郵輪供應商,填寫相應的資料并保存



供應商列表頁:

二、添加郵輪
1、配置郵輪

(1)添加艙房類別

(2)添加設施類別

2、添加郵輪,在郵輪列表添加郵輪產品
(1)添加基礎信息:包括郵輪名稱、郵輪介紹、所屬的郵輪公司、以及郵輪的基礎信息等

(2)添加郵輪圖片,要設置圖片封面

(3)添加郵輪航次:列表可編輯管理和刪除


(4)添加甲板導航:樓層信息和甲板導航圖,填寫多少層甲板,則會在房型信息和服務設施中顯示多少層

PS:艙房和服務設施是從房型信息和服務設施關聯進來的,不需要填寫

(5)房型信息配置
1)房型類別從郵輪配置_艙房類別中關聯而來
2)所在樓層是從甲板導航處關聯而來


(6)服務設施信息配置(與房型信息填寫一致)
1)設施類別從郵輪配置_設施類別中關聯而來
2)所在樓層是從甲板導航出關聯而來


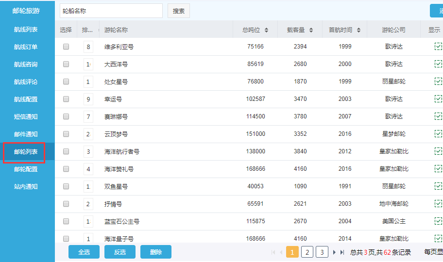
(7)查看郵輪列表:包含郵輪名稱、總噸位、載客量、首航時間、郵輪公司以及管理

三、航線配置

1、目的地設置:需要手動開啟目的地
PS:只有打開了首頁顯示,該目的地才會在網站首頁和欄目首頁展示

2、航線屬性配置:可根據自己需要進行配置

3、航線的價格屬性分類設置

4:航線的天數屬性設置

顯示分類數量

5、添加航線內容介紹:不勾選顯示則不會在添加航線時顯示出來

6、可以增加航線的擴展內容

7、附加選項:可開啟預訂航線時的游客信息,關閉則不顯示在預訂頁

四、添加航線信息

1、添加基礎信息
(1)郵輪選擇直接調取供應商和郵輪列表的內容

(2)行程天數直接調取該郵輪下的郵輪航次信息

2、行程安排
(1)旅游天數需要再次填寫,標準版的行程天數會根據此天數顯示填寫內容
(2)起航時間、抵達時間、國家城市、入住 不勾選則不在網站顯示
(3)餐飲:不勾選,則網站上顯示“不含”,勾選后若無填寫內容,則顯示“含”

(4)簡介版
PS:簡潔版沒有行程打印按鈕

3、航線封面圖片設置

4、費用包含及后面的內容以文本框的方式進行填寫
PS:若沒有填寫內容,在前臺網站上則不顯示該字段

5、航線報價

(1)航線套餐的主要內容顯示

(2)支付方式暫時只支持全款支付
(3)報價:將日期選擇后,填寫市場價和優惠價,可將所有航期均報上價

(4)報價列表:包含航線編號、航線名稱、最近報價有效期、預訂積分、評論積分、積分抵現、最低價格、最低利潤、以及管理

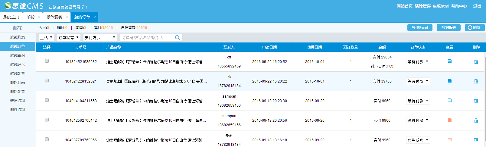
五、訂單列表:點擊查看可到訂單詳情(該航線所有資費)和子訂單(各種艙房類型下不同房型的資費)



六、航線咨詢

七、航線評論

八、短信和郵件發送配置


小米
會員評論